CONNER PERIPHERALS, INC.

C4320RT, C4324RP

Device Type

Internal Tape Drive

Interface

SCSI-2

Format

DDS, DDS-DC

Sustained Transfer Rate

Unidentified

Size

3.5 in. half height

5.25 in. half height (with bezel)

View

Top

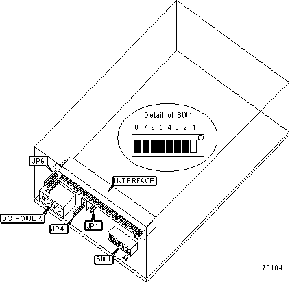
USER CONFIGURABLE SETTINGS

Setting

Label

Position

»

Factory configured - do not alter

JP1

Unidentified

»

Factory configured - do not alter

JP6

Unidentified

»

SCSI 2 mode enable

SW1/4

On

 

SCSI 1 mode enabled

SW1/4

Off

»

Parity check disabled

SW1/5

Off

 

Parity check enabled

SW1/5

On

»

Compression enabled

SW1/6

Off

 

Compression disabled

SW1/6

On

»

Factory configured - do not alter

SW1/7

Unidentified

»

Self-test diagnostics disabled

SW1/8

Off

 

Self-test diagnostics enabled

SW1/8

On

Note: The tape control software provided has the ability to override SW1/6, regardless of its position. For model C4320RT, SW1/6 is reserved and should be left in the Off position.

DRIVE SELECT ID

Drive ID

SW1/1

SW1/2

SW1/3

»

0

Off

Off

Off

 

1

On

Off

Off

 

2

Off

On

Off

 

3

On

On

Off

 

4

Off

Off

On

 

5

On

Off

On

 

6

Off

On

On

 

7

On

On

On

TERMINATION POWER SELECTION

Setting

JP4

»

TERMPWR supplied by drive

Open

 

TERMPWR supplied by SCSI interface to drive

Closed

MANUFACTURERS RECOMMENDED MEDIA

Tape

Capacity

Conner DAT Data Cassette (60 merter)

Unidentified

Conner DAT Data Cassette (90 merter)

Unidentified

DIAGNOSTIC LED(S)

LED

Color

Status

Condition

LED1

Green

On

Drive receiving power and operation normal

LED1

Green

Slow Flash

Inserted cassette generating errors (warning only)

LED1

Green

Rapid Flash

Drive could not write correctly to tape

LED1

Green

Off

No drive power

LED2

Amber

On

Drive reading from or writing to tape

LED2

Amber

Rapid Flash

Condensation detected in drive, or hardware fault occured

LED2

Amber

Off

Drive not active

Note: If LED1 is flashing slowly while LED2 is On, a prerecorded audio cassette is loaded and is being played automatically.