SMART AND FRIENDLY
CD RACER
|
Device Type |
Internal CD-ROM |
|
Interface |
IDE(AT) |
|
Spin Rate (Read/Write) |
2x |
|
Formats Supported Read |
CD-XA, CD-DA, CD-I, CD-I Ready, CD Bridge, CD-ROM (Mode 1 & Mode 2), Video CD, CD Extra, CD-RW |
|
Formats Supported Write |
CD-ROM (Mode 1 & Mode 2), CD-DA, CD-XA, CD-I, CD-Bridge, Video CD, CD-Extra, CD-RW |
|
View |
Top |
|
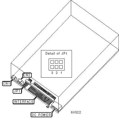
CONNECTIONS | |||
|
Function |
Label |
Function |
Label |
|
Digital audio line out |
CN1 |
Audio line out |
CN2 |
|
MASTER/SLAVE SELECTION | ||||
|
Setting |
JP1/1 |
JP1/2 |
JP1/3 | |
| » |
Master in two drive system |
Closed |
Open |
Open |
|
Slave in two drive system |
Open |
Closed |
Open | |
|
Master/slave determined by cable select |
Open |
Open |
Closed | |