Casio SF-9500
This is a good example of high-end digital organizer.
It has LCD display, ergonomic keyboard with plastic keys, 64kB of RAM
and was expandable by small IC cards. It is powered by 3 CR2032
batteries: Two for powering unit, one for data backup when main cells
are replaced or depleted. It was possible to enter data with diacritized
characters and to manage it in different ways, including moving between
some built-in applications.
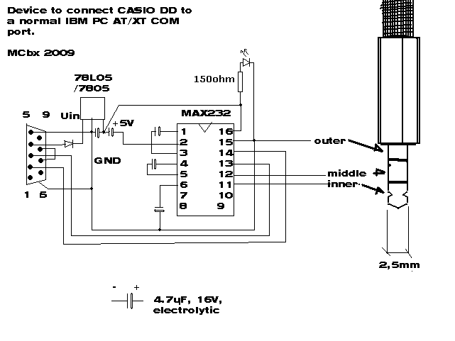
This device has also another unique feature: serial port. With this port
it could be connected to PC and data can be managed on a PC, as well as
exported to other formats. By using interface it is possible to print
data from SF-9500 without PC.
| Manufacturer | Casio | |
| Origin | Japan | |
| Year of unit | Mid-1990s | |
| Year of introduction | ?? | |
| Type | Electronic organizer | |
![]() |
||
|
|
XLink software for data copying and management: Part1 Part2 |
|
|
CasiFW ans Masca - Programs for data transfer and management. Masca is in Czech. |
|
|
User's Manual (djvu) |
|
|
Making interface between Casio SF-9500 and PC's serial port: Drawing and Photo of circuit. |