|
Battery Replacing Cells in Battery Pack with Rechargeable AAs Battery Pack Trivia Testing the Battery Pack Running 8543 without battery Backup Battery Testing Backup Battery Standby Battery Testing Standby Battery Quick Charger Testing Quick Charger AC and Car Adapters Testing AC adapter AC Adapter Parts (plug and transformer specs) Power Management Functions Battery PN 79F0197, FRU 79F0994 Ni-Cd10.8v, 2.4 AH When Not Using the Rechargeable Battery for a Long Period It you do not use the rechargeable battery for a long period, remove it from the computer and keep it in a cool place. The rechargeable battery should be charged at least once every 6 months to extend the battery life. 8543
Battery Pack
Trivia
The main problems:
IBM had various ECAs on the L40: LCD brightness,
battery
lifetime, Serial and Parallel port power, battery lifetime again,
exploding
battery chargers, isolation problems in the DC/DC converter circuit
with
fire hazard, shot fuses in charger circuit, runtime on batteries and
how
to save energy and extend the runtime on batteries. (These were the
ones
I recall after the many years ...) Testing the
Rechargeable
Battery
4. Using the AC adapter, apply external power to the
computer.
Make sure that a charge arrow appears in the system-status
display.
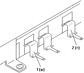
1 (+) and 2 (-). If the voltage is not greater than
the one
measured in Step 3, replace the AC adapter. If the voltage is greater
than
the one measured in Step 3, go to the next step.
Pin Voltage (Vdc)
If the voltage is not correct, the rechargeable battery
is discharged
or defective. If the voltage is correct, go to the next
step.
8. Using a low-power ohm meter, measure the resistance at the battery terminals between 2 (T) and 3 (-). The resistance must be 4 kilohms to 30 kilohms. If the resistance is out of range, replace the rechargeable battery. Will the 8543 run without a battery installed? Rick Ekblaw replies:
A semi-rare item for the L40SX is the automotive
power
adapter (part number 79F1013, FRU 79F1039).
Backup Battery PN 79F0986 Panasonic Lithium BR-2/3A 3V. Original backup battery is listed as 3V, 1200 mAh. I have also seen 65F0231 listed for this battery, YMMV... Used to maintain stored-data (such as configuration information, date, and time) after powering off. This battery is not rechargeable BATTERY LITH 2/3A 1200MAH W/TAB - BR-2/3AT2SP ![]() NOTE: Do NOT solder directly on a Lithium battery! Use a tabbed version like this! There are other versions with solder eyes instead of just plain tabs. Digikey lists a few different versions of this size. Testing the
Backup
Battery
Pin Voltage (Vdc)
If the voltage is not correct, the backup battery is
discharged by a
short circuit or is defective.
Stand-by Battery PN 65F0225 Ni-Cd DC 3.6v 45mAH Panasonic KRM 11/16 CF. Goes on top of the blue battery shield in the little "fence" on top.Supplies power to the computer during replacement of the rechargeable battery. However, the standby battery is not charged at the time of shipment. It takes 48 hours to automatically charge it using the AC adapter. Therefore, do not replace the rechargeable battery in Suspend Mode during that time. Testing
the
Standby Battery
1. Remove the keyboard and the top cover.
Pin Voltage
(Vdc)
If the voltage is correct, perform the failing operation with
a fully-charged
standby battery to isolate the problem.
4. Measure the output voltage at the connector on the system
board.
If the voltage is higher than measured in Step 3, the standby
battery
is discharged or is defective.
Quick Charger PN 79F0193 FRU 79F0995 Input- 100-240v ac, 50/60Hz 0.5-0.3A, 35W Output 13v 1.3A There is no deep discharge function built into the Quick charger. Testing the
Quick
Charger
AC and Car Adapters AC Adapter 79F0993 Car Adapter 06G9206 Testing
the
AC Adapter
Pin Voltage (Vdc)
If the voltage is not correct, replace the AC
adapter.
The A/C adapter plugged into the L40, but the
battery icons
indicate that the battery is still being drained. The A/C adapter
is plugged into both the wall and the L40. Do I have a bad
battery?
AC
Adapter Parts
Aron replies
The L40's power use falls within the Energy Star's guidelines
Power Management Functions Suspend/resume An application is suspended by closing the clamshell leaving the power switch on. When the clamshell is opened, the application resumes at the point it was suspended. During suspension system components are automatically powered off except for the real time clock and application memory. The system can be set to resume at a specific time of day. Internal backup battery Change the battery pack without disrupting the application. Trickle Charge trickle recharging occurs during AC operation. Manual vs. Automatic Mode You can use the "A-M" switch on the left side of the top cover to select manual or automatic mode. In automatic mode, the hardware initiates low clock speed operation during idle periods. In manual mode, the processor runs at the default clock speed set by the user when the system is configured. The clock speed settings are 20, 10, and 5MHz. Sleep mode. Sleep mode conserves battery power during idle times between clock cycles and key strokes by putting system components in an idle state resulting in low power usage. Sleep mode is not operational when an external display is attached. This function is exploited by DOS and OS/2 Application, operational, operating system, and environmental characteristics will affect actual battery duration between recharges. When I get my L40 back together, I'll have to check these out-
|