|
8555 Power 8555 Procomm Riser 189-076 PS/2 Model 55 SX and 80387SX Math Co-Processor (8555-031 and 8550-061) 189-089 IBM PS/2 Model 55 SX (8555-R31 and 8555-R61) 190-171 IBM PS/2 Model 55 LS (8555-LT0 and 8555-LE0) 191-077 IBM PS/2 Model 55 SX (8555-041 and 8555-081) and Memory Upgrade for 55 LS SHS15F2195 IBM PS/2 Model 55 SX HMS SHS15F2250 IBM PS/2 Model 55SX HMR Early Planar Late Planar Early Riser Newer Riser Late Riser IBM PS/2 Model 55SX Hangs at Start Up with Windows 3.1 Both of these planars and the three risers were sent to me by David Beem from New Mexico. ADF Sections for Integrated
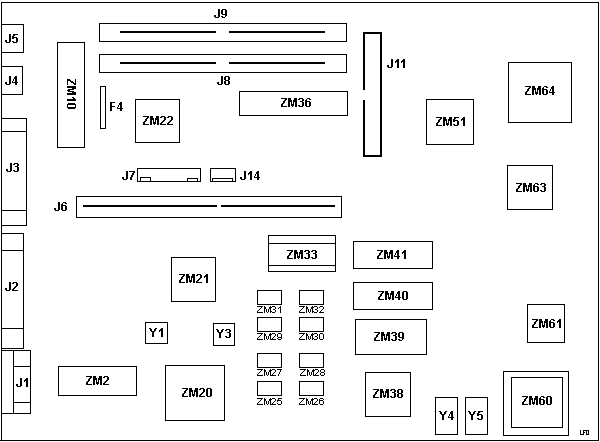
Fixed Disk and Controller Early 8555SX Planar
Early Mod. 55SX had a risercard connector with too long solder pins. If you applied pressure to the top of the case the pressure goes onto the riser card, which presses down the systemboard ... which makes contact with the grounded metal on lower chassis for some databus signal pins. [snip] (IIRC there was an ECA "IBM dealer confidential" on this topic) - the "dead cockroach" board with the many patch wires and the glued, silver-capped patch chip. Needs the almost bare riser card, does not work with the later ones (or: not always). Had various problems from which the non-functional pin to shut off the 386SX is the worst. Does not work with "clip-on" processor expansions. Fails with 8514/A + network cards. Late 8555SX Planar
- the revised 55SX board FRU 27F4667. Components slightly rearranged.
Riser cards have more capacitors and / or the 74LS-something that fixes a
problem with 8514/A-style cards. >What
is the unpopulated 28-pin DIP socket by the RTC? None of my 55 boards have
it filled in. RIPL ROM if the network board didn't have it?
24-pin - as you noted in your follow up posting. Peter says: It is for a 2K CMOS Ram extension chip (6116 or something) that
adds to the one in the Dallas RTC - needed for some purpose on totally medialess
55SXs (no FDD, no HD, only NIC). William Walsh: > Also
has anybody ever seen the resisters sodered ontop the IMGS171S-35, it's labeled
as ZM2 on Louis's page. On this machine they have soldered 6
resistors in connecting some of the pins on that chip. I'm wondering
if this is a custom job or something IBM did??
It's something IBM did. I don't know what the exact purpose is, but it circumvents
problems that IBM experienced with the RAMDAC. Model 30-286 planars may also
have this fix. David Beem: They are diodes. Only present for some plastic versions of the RAMDAC. The ceramic version was fine. Early Riser
P/N 27F4625 This riser has an addition of a resistor, a 74F08N, and a bit of wiring on the back. Late Riser
P/N 27F4666 > No, it
doestn't get to the menu. It just says that the battery is dead then starts
the Automatic Configuration (or, at least, attempts to). I tried unplugging
everything and the plugging them one by one, but without any luck. It does
the same thing every time...
Recently it may happen that the battery is *that* drained, that the CMOS
cannot be properly written and the next reboot reads corrupted data and hangs
the system. Peter says: After a power cycle and reboot from the reference diskette the silly
game repeates. CMOS Clear Method Aron Eisenpress comes up with: "I have exactly the same problem with a 55SX. Only in my case
I was trying to install OS/2 on it. The install progressed to the first
reboot and then couldn't boot off the drive. What's weird is that it
Aron suggested the following, but I haven't had a chance to try
it yet. I have to look for a DOS floppy to boot from. If you
try this and it works please post it here. "I did some searching on the 55sx problem after replacing the Dallas
RTC chip, and found one suggestion that says you need to clear the CMOS before
the configuration will take. The method is to boot from a floopy, run DEBUG, and type o 70 13 Color Changes After Memory Upgrade I keep losing half my color settings in Windows whenever I increase the ram chips from 2 meg to four meg. Does anyone know what settings are being changed (INI files, resolution)? Any tips welcomed. Peter replies: I would suggest to try out a "bread board" installation. Remove the board from the chassis, remove the power-supply also and place it on a non-conductive surface (Warning: underside pins may scratch furniture). Install the memory modules, the riser board and lay HD and FDD in a place where it can be connected but do not touch board or power-supply. When the system runs fine without the chassis inspect the underside of the planar if there are cracks or too long component pins, especially on the riser-card connector and around all places, where the board fixing screws go. And: there are some combinations of planars / riser-cards known as non working. If the planar FRU is 27F4667 the appropriate riser-card must be 27F4666 (P/N 64F0809 on a white sticker, contains a 74F08-chip and some condensors / resistors. The almost totally empty riser-card (P/N 274630 on white sticker / 6 condensors between slots / 2 larger tinned areas at the rear) belongs to an early down-level 55SX-planar and is known to cause problems. The 2nd series risercard . Peter wrote: It is pretty hard to tell which boards are affected. I found out during testings, that mainly those old boards tend to fail that have the "dead cockroach" chip at the mid/front. It is sitting between the two bigger square chips and is accompanied by a silver capped chip glued to the board. Both are wired to the system with patch-wires. These machines have the old Level-1 riser card 27F4630 (printed on a decal), which is almost bare apart from six small condensors between the MCA connectors. The Level-1 riser board has no chips and no "component printing" in white. The board P/N is 33F5064 (sticker over 33F5060 P/N - which was the buggy, unfixed original board P/N). There was a revised systemboard without the patch-on
chip, which came with the Level-2 riser (several resistors, some el-co's
and the small condensors - came with an ECA from IBM due to problems running
8514/A style cards), which has been replaced by the Level-3 riser 64F0809
with a 74F08 chip (ZM1). The early 55SX planar cannot be used with the Level-3
risers ... the later systemboard should not be used with the bare Level-1
riser. I installed about 350 - 400 Mod. 55SX in the early '90s for the german Automobile Club ..... so I guess I knew them quite well ... :-) The harddisk is in fact a camouflaged MCA-adapter with a harddisk
mechanism atop. The maximum system board memory capacity is 8MB (4MB memory module
kits installed in memory-module connector 1 and 2). A memory-module
kit must be installed in memory My experience is that the 55sx is fine with one SIMM, but it must
go in the slot closer to the power supply. The 55sx takes PS/2 SIMMs, 1mb,
2mb, or 4mb, either 85ns or 100ns. I'm pretty sure it can also take
80ns SIMMs (definitely can in the 4mb size), but I'm not certain. 486 CPU Upgrade: IBM PS/2 Model 56, 57
Older 55SX had a slightly buggy mainboard / CPU where the "CPU disable" pin did not work as supposed. You could use "clip-over" upgrades only on the 55SX anyway since it has no "upgrade" socket of any sort (the 387SX socket does not feed all required lines through ...). If your 55SX planar has the "dead cockroach" fix (silver capped chip with patchwires around) suspect it as one of the earlier ones that might or might not work. The early models with the "bare" riser card without any TTL-logic chip and without lots of capacitors had multiple troubles - not only with the CPU. >But could you ground out a pin directly on the cpu? Ahem ... as far as I recall IBM reported having got a quantity of 386SX where the disable pin does not work *at all* - and therefore any clip-over upgrades won't work. The "dealer confidential" paper I have in mind mentioned the 55SX / 65SX only - none of the other SX-machines (like L40, N33 etc.) where the case forbids to use any updates anyways. The L40 however had been on the "CPU upgradeable" list at Hantz & Partner (www.upgrade.de) years ago, which was a "send-in upgrade" with soldering on board level. So it seems as if only very early 16MHz 386SX were affected by this general fault. The corresponding pin is -FLOAT ("FLT#", active low - pin 28), which "floats all Intel 386SX bidirectional and output signals, including HDLA. Asserting FLD# isolates the Intel 386SX from the surrounding circuitry." (Intel Datasheet 24018708.PDF, Page 60) Originally this pin was added to allow in-circuit emulation without the need to unsolder / remove the chip from the board. Simple test: ground pin 28 and the system may not POST. If it does the chip is one of those faulty few. 386SX/16 CPUs in general do not have a (working) disable pin, except they bear a 'C STEP' writing (most of the ones I've seen don't...). All 386SX CPUs with 20 MHz or more use at least the C stepping mask, so that's not a issue for them... Best regards, Alfred Remove Password Password is gone. ADF Sections for @DF9Fh "Integrated Fixed Disk and Controller" DMA Arbitration Level DMA channel adapter uses to transfer data < "Level 5">, 6, 7, 0, 1, 3, 4 DMA Burst Pacing Interval Time interval between DMA transfer bursts during which the Micro Channel is released by the fixed disk controller for use by the cpu. Under normal circumstances, select <24 Microseconds> <"24 Microseconds">, 31, 16, Burst Disabled DMA Pacing Control Enables or disables the 'DMA Burst Pacing Interval.' If set to <Burst Disabled>, the DMA Pacing Control will be disabled. Under normal circumstances, select <Disabled>. <"Disabled>, Enabled Time to Release The amount of time that the fixed disk controller will keep the Micro Channel after being preempted. If the 'DMA Pacing Control' is set to <Enabled>, the Time to Release will default to immediate. Under normal circumstances, select <6 Microseconds>. <"6 Microseconds">, 3, Immediate Fairness On/Off Whether the adapter will release control of the bus when it has been using it exclusively. Under normal circumstances, select <On>. <"On">, Off Primary/Alternate Port Addresses This assigns the port addresses used by the adapter. Either <Primary> or <Alternate> will work equally well. If there are two integrated fixed disks, then select <Primary> for one and <Alternate> for the other. <"Primary"> (3510h-3517h), Alternate (3518h-351fh) |