8573 P75
rfp75a.exe Reference disk for PS/2 P75 486 luggable 
190-197 8573-P75 486 (8573-161 AND 8573-401)
SHS84F8525 IBM PS/2 P75 486 HMR 
SHS84F7593 IBM PS/2 Model P75 486 HMS 

Patched Refdisk Files (result of running XGAOPT.EXE on original refdisk)

P75 System Board
   Indicator Port Pinout (J17) 
   Failing Planar? Bad caps
Slot Numbers and Widths
P75 SCSI
   Terminators
   Remove SCSI BIOS Chips
   SCSI and System BIOS Wondering
Set SCSI ID
SCSI Cable
Memory 
   Filling SIMM Sockets
   Non-OEM Memory
   64MB in a P75?
   Actions On Memory Errors
Floppy Drive
   Floppy Controller
   2.88MB Capable?
      Attempting 2.88MB Support (Always use the stock refdisk!)
      Undorking a P75
   External Storage Device Connector
      External Storage Device Cable Source
   Remove Floppy Drive (H1 Model)
   Reassemble Floppy Drive
P75 Drive Carrier Screw Spacings
   P75 HD Rail Dimensions
   Hard Drive Mounting Rails
   Hard Drive Mounted in Cage
Battery Pack
   J18 Pinout
   P75 CMOS Battery Replacement (Dr. Jim)
Processor Card
Video Card
   J1 and J2
   Blank Plasma Display (14902 Error or just no video at all)
   Brightness Program
   P75.EXE
Riser Swap with P70
Windows 98SE
Built-in Features ADF


P75 Planar  78F9896

 
15F OKI 15F7917 
4464 Hitatchi 4464S-08LL 
82077 82077AA Floppy Controller 
8032 80C32-1 CPU 
Even,  79F3214 SCSI BIOS Even
Odd  79F3213 SCSI BIOS Odd 
F1-3 Little Fuse 1.5A picofuse 
F4 LF unk Amperage Fuse for floppy 
GA2 64F8781 
GA3 79F3196 
GA4 79F3242 
GA5 79F3202 
I7 Hitatchi 4464S-08LL 
I56 79F3200 
IC5F 90X8134ESD DMA Contr 
J1 Keyboard 
J2 Mouse 
J3 Printer 
J4 RS232C DB25 
J5 External Floppy 
J6 Display 
J7 Bus riser 
J8 PSU
J9-12 SIMM1-4 72 pin SIMMs 
J13 SCSI internal 
J14 External SCSI C60 
J15 Speaker 
J16 Floppy 
J17 Indicator 
J19 Processor 
J20 MC-2 
J21 HDD Power 
JP1 Power On Password 
MC146818 MC146818AF 
SCSI3 OKI 33F6910 
SCSI7 33F6715 
SI 5 pin header outline, "SCSI ID" 
TP 8 pin Term Packs IR6-8 
uCode PN 79F3212 
X1 20.0000 MHz osc 
X2 32.768k? xtal 
X3 14.31 MHz osc 
X4 24.0000 MHz osc 
X5 20000 xtal KHz? 
X6 12500 xtal KHz?
1
DMA Controller
  90X8134ESD, just like on the K and 0 complexes and the 50Z planar. 
J17 six pin header for floppy drive, power, and hard drive LEDs 
J20 MC-2 14 pin header that connects to riser card. 

J8 Wire Colors
Pin1 on left, pin 10 on right (silkscreened on board) 
Blue (9), Orange (10), Red (11), R (12), R (5), Black (8), Bk (1), Bk (2), Bk (3), White (4). Numbers in ( ) are the corresponding power supply connector 

Indicator Port (J17) Pinout
   This is the Indicator port- three LEDs are driven off this header, Power, HD, and Floppy. Note that the header on the system board and the display card (PN 65X1569) are keyed, so the pins match from 1 to 1, 2 to 2, and so forth. 

Pin   LED
1-2   Power LED
3-4   HD LED
5-6   FDD

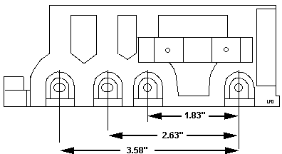
Slot Numbers and Widths
   The two upper slots are 32 bit. The slot next to the rear cover has the AVE (dow! case is shut!) connector. The bottom two slots are 16 bit, and they are short. FWIW, Slot 1 is the internal SCSI controller. 


 
 

Slot 4 (Outer Top) 32-bit AVE 
Slot 2 (Inner Top) 32-bit MME
Slot 3 (Inner Bottom)  16-bit 
Slot 5 (Outer Bottom) 16 bit
 
 

Place memory expansion cards in Slot 2!
  

 
 




P75 SCSI
   To me, it resembles the newer SCSI /A with the 20MHz/12.5MHz oscillators.

P75 SCSI               Tribble (new)
80C32-1 CPU            N8032AH
AIC-6250EL             AIC-6250EL
33F6910                33F6910 
33F6715                33F6715 
4464S-08LL             SRM2264LM12
20000 xtal KHz?        20 MHz 
12500 xtal KHz?        12.5 MHz
OKI 15F7917            OKI 15F7917


Take a look at David Beem's SCSI microcode levels. The latest ucode for the Tribble is
41G9974 14h/20d  date 1992.

Compatible chip for the BIOS and firmware is 28 pin SOIC Atmel AT27C256R

SCSI BIOS PN 79F3214 (even) / PN 79F3213 (odd). SCSI microcode PN 79F3212   Ed. I had Bruce from Blue Feather Technologies burn me some of the 92F2244 and 92F2245 SCSI BIOS in the small SOIC chips and use them in my P75s. Up to six SCSI devices can be attched to the SCSI controller.  It supports drives up to 1.05GB.

Terminators
  It uses three 8 pin, seven resistor SIPPs, 145 ohm (150 ohm will work fine). Radio Schlock has the 150 ohm #900-8143. Pin 1 is towards the SIMM sockets.

Removing SCSI BIOS Chips
I want to open my P75 and pull the SCSI BIOS chips. Might have to figure out some way to remove them (Dremel off the carrier, then the leads?).

Dr. Jim sez (in his best bedside manner)
   That's my boy, never use tweezers when a sledgehammer will do.  Removing the SCSI BIOS chips is trivial.  The carrier is a two-piece affair.  Slide the _inner part away from the SIMM socket (you will notice a small gap at that end of the carrier).  It will make a disturbing 'snap' sound, after which you can lift the inner portion out.  The chip will lift right out into your grubby little paws at this point. [Ed. the neat-o SOIC socket is a Hirose DL3A-26]

SCSI and System BIOS Wondering
Peter wrote:
   Today I did a bit experimenting with the 8573-401 P75 portable. I wanted to know if and how drives over 1GB could be used in that machine.

At first I tried using a 2.1GB Quantum Fireball attached to the onboard SCSI controller. The drive was properly recognized with 2.112MB in the setup - but it did not show up with the proper capacity in FDISK. I tried Win95 FDISK - which showed a size of 1.024MB (1.0GB) as estimated even with the advanced large media support turned on.

   Then I installed the short IBM PS/2 Fast SCSI-2 Adapter /A (60E9) in the second lower 16-bit slot. The first slot contained a short 16/4 Token Ring adapter already. While the card has no front tab it just fits between the rear slotcover and the power supply fan without squeezing :-) A very tight fit if you ask me. The internal SCSI cable could be detached from the planar SCSI port and attached to the SCSI-2 card. The length is sufficient.

Now: this seems to work. 

   It is however not possible to configure the SCSI device(s) attached to that controller, if you only copy the ADF to the reference disk. Most likely you will have to use "copy an Option Disk" and get the updated SCSI.DGS, SCSIHF.DGS and -probably- SC.EXE to the P75 reference disk.  I did not do that ... so far. Maybe later, because I only have a US-P75 reference and only a german "SCSI-2 Option Disk" - and if there is one thing how to voluntarily step in the mud then it is mixing different language versions.

The P75 also lacks the ability to select the startup sequence - but at least it had no problem determining that the planar SCSI only has an external CD-ROM attached and that the 2.1GB harddisk is on the SCSI-2. FDISK got straight through and installed a 2GB primary partition. After reboot the FORMAT C: says "Formatting 2.012,03MB" ... which takes a while, because this particular drive has some bad sectors, which are not hidden. Strange. But okay.

   Physically the slimline Quantum drive fits into the half-height HD-cage. But the ID-select cable has an "old raster" plug for the large jumper pins, while the Quantum has the "mini jumpers", which are thinner and have only 1.5mm pitch. Doesn't matter much, because once set there is no reason to have the drive ID switched to anything else than the pre-set ID 6 (traditionally I took ID-6 of course). 

   Sadly the P75 has a soldered firmware ROM on the processor card. There is no chance to read out the ROM content *after* the system powered up - and then the ROM is relocated to an area above 16MB and masked from access. Only the shadow-copy remains at the adresses E000 - FFFF and is mixed with the additional codes from the XGA and planar SCSI. 

   This is the same method as used on all PS/2 with 486-class processors (and even 386 cpus) - but these have removeable ROMs that could be read and analyzed before the POST relocates the "pure ROM code" out and only the "compatibility part" remains. I would really like to compare e.g. a Type 2 (old) and 41G9361 Type 2 (new) code for the advanced SCSI support and try to add this to the P75 firmware ROM, which *seem* rather close to the Type 2. Technically the P75 is a sort of Mod. 77 / Mod. 90 mix in a portable case. It has a similar memory subsystem (single modules, unpaired) and the planar SCSI from the "Bermuda" 77, it got the planar XGA-1 from the Mod. 90. So either of these machines -to my opininon- could be used to filter out the additional code that enables the planar SCSI controller to handle drives over 1GB. 

On the Mod. 90 the code can be supplied with the upgrade version of the the processor board firmware ROM - why not on the P75 ?
   Anyone any idea to this ? I don't have the equipment to unsolder the SMD-ROM undamaged or read it out. My Eprommer takes only DIL-chips ... but that is the least problem, because I can build / buy an adapter. The ROM itself is a 27C1001 / 27C010-version (128K x 8 bit) as far as I remember ... I have PLCC 28C010 Flash-ROMs around here ... :-)
   Hey Jim - wouldn't that be another challenge to push out the P75 performance a bit more ? The advanced SCSI support on the Mod. 77 "B" helps it to even run 8GB drives .... tried that with my old Ultimedia-77 and a Seagate Elite-9 drive, before they were installed in the 9585. No problems getting them to work under NT 4.0.


Set SCSI ID
 ID# 
  1 
  2 
  3 
ID6
Off
On
On 
ID5
On
Off
On 
ID4
Off
Off
On 
ID3
On
On
Off 
ID2
Off
On
Off 
ID1
On
Off
Off 
ID0
Off
Off
Off

SCSI Cable

Note- both  SCSI connectors have the pin holes facing UP. The length of the flat and loose is immaterial, but the OAL should be AT LEAST 6.5". The end for the drive should use a strain relief.


Memory
   2 and 4MB 70nS parity SIMMs are supported, max 16MB on the planar. 

Panasonic OEM (IGH0380BA) 4MB is FRU 64F3605 P/N 64F8776
IBM 4MB FRU 92F0105 P/N 71F7010
 FRU 6450128, 927200  are 4MB simms from IBM, the P75 is somewhat sensitive to positioning them, so you may have to move them around until it works.

64F3605 and 92F0105 Considerations

  Memory "Manufactured by IBM" 4MB 70nS memory, FRU  P/N 64F3605 or P/N 92F0105 and 2MB 70nS memory FRU P/N 64F3604, or  P/N 92F0102 will operate in the odd memory sockets (J9 and J11) on the 8573-P75 system.  The "Manufactured by IBM" 4MB 70nS SIMMs has nine (9) memory modules placed vertically on one side of the SIMM.This is due to a timing line incompatibility problem between the system board and "Manufactured by IBM" memory. If this memory is installed in the even number memory sockets, POST error codes or advanced diagnostics errors such as 107, 110 with five question marks, 215, 216, or 221 can occur.

   Memory "Manufactured for IBM" has the same FRU number but has either eight vertical and four horizontal modules on one side of the SIMM, or it may have modules on both sides of the SIMM. Memory "Manufactured for IBM" does not have a socket restriction and can be installed in ODD or EVEN system memory sockets.

   *************UPDATE UPDATE UPDATE UPDATE************************
   A new 4Mb simm Fru P/N79F3234 is now available for use on the 8573 P75 systems.  This simm operates in all system board memory  locations.
   ****************************************************************

   Memory "Manufactured by IBM" is now used as FRU stock for the 8590 and 8595.  It is used as OPTION STOCK for the 8573 P75, 8590 and 8595. but for the 8573-P75, it is only to be installed in the ODD sockets. The 8590 and 8595 can use either "Manufactured by IBM" or  "Manufactured for IBM" in ANY memory socket.

Thinkpad General - Model P70 And P75 Memory Checkout 
Applicable to: World-Wide 
Memory Checkout: Power-off computer before removing or replacing parts.
4MB memory modules installed in slots 2 or 4 must be FRU 79F3234.

Filling SIMM Sockets
   When you expand the memory capacity with 2MB or 4MB SIMMs, use one of the following arrangements. Other combinations makes the access times slower. (IBM P75 Quick Ref, Pg. 20)
SIMM
OEM
1
2
3
4
5
1
4MB
4MB
4MB
4MB
4MB
4MB
2
4MB
4MB
4MB
4MB
4MB
4MB
3
1
2MB
2MB
4MB
4MB
4MB
4
1 1
2MB
1
4MB
2MB
Total 8MB 10MB 12MB 12MB 16MB 14MB

Non-OEM Memory
From Me
   What about dumping 4x4MB sticks in my P75? Yeah, get some!...  What an education! First, I dumped in 4 70nS PS/2 SIMMs. 201/110 error. Swapped out #3 chip, cuz it barfed at about 1200KB. Didn't do it. Swapped out the last two 4MB SIMMs with the original BIG 4MB SIMMs. Barf at 8000KB.
   Well hell, I swapped the original SIMMs into MEM1 and 2, put two PS/2 SIMMs in 3&4. Counts it, it boots. I think it's happy. Odd, does the P75 have special mojo on the original SIMMs or what?


64MB on a P75
Ivar Amund Grimstad wrote:
  I have upgraded to a total of 64MB RAM, using 12MB on the planar and 52MB on a Kingston KTM-MC64 expansion board that fits only in the upper 32-bit slot. (Ed. I think there has to be a "memory window" in the 16MB so you can "map" the extended memory into it. Might be able to get 14MB on the planar with 4x4x4x2?) (Ed.Slot 2 is the MME slot)

Peter said:
>According to Peter, he's running a later Acculogic SIMMply Ram that can utilizes four 8 Mb 72 pin parity simms with only 8 Mb (two 4 Mb Simms installed on the planar) for a total of 40 Mb.

   That's right. The P75 is -more or less- a "Model 90 with a carrying handle". So the 16MB memory limit does not directly apply on that machine (unlike to Mod. 70 and 80). However: the planar memory mapper seems to be a bit odd and needs to map in the memory on a card ("Channel Memory") into the lower 16MB to have it adressable. That's why I had to remove memory from the systemboard.
   Interesting in this respect was the fact that I had to remove 4MB when the Acculogic was equipped with 4 x 4MB modules and I had to remove 8MB from the planar, when it had 4 x 8MB. Seems as if the memory granularity only adjusts to full module values (4 or 8MB).


Action on Memory Error
   The P75 allocates memory in 2MB blocks, except for the first 2MB of system-board memory. For errors in this first block, the following occurs:

Error in First 512KB
    If POST detects an error in the first 521K of system-board memory, the first 2MB block of system board memory is deactivated and the following occurs:
°  If an additional 2MB block of system board memory is installed, the addresses assigned to the deactivated block are reassigned to the second block of sbm. This is only true for the first two 2MB blocks of system board memory. After the first two blocks, an error code is displayed.
°  If additional system board memory is not installed, no address reassignment occurs and an error code is displayed.
°  The first 512KB of memory address space cannot be assigned to adapter memory.

Error Outside First 512KB
   If POST detects a memory error in any memory after the first 512KB of system board memory, the 2MB block of memory is not deactivated and an error code is displayed. In this event, the customer level diagnostics program can be run to deactivate the 2MB block and reassign the addresses. 
   After the block is reassigned, the defective block is ignored by POST during subsequent power-ons.

   If errors occur one at a time, the system deactivates 2MB blocks of memory. However, if two errors occur at the same time on the same SIMM, the system programs cannot be loaded and an error message is displayed.



Floppy Drive
   The floppy can be used in the open or closed position. It is recommended that it is operated in the closed position so the chance of  foreign material dropping in the drive is greatly reduced.

The floppy in my P75 is a ALPS DFP723D15C, 12v .47A, 5v .16A

Floppy Controller
  It's a 82077AA. Probably supports 2.88MB floppy drives (yea! got to love the dust shutter), but NOT the " * " marked 2.88MB floppy drives.

2.88MB Capable BIOS?
This is from the HMM- note the reference to a "4MB Media Sensor".... 
3.5-Inch Diskette Drive  38F5936
3.5-Inch Diskette Drive  38F5936 (with 4MB Sensor) 
 


Using the 2.88MB Floppy
   According to the Western Gunslinger, David Beem, the non-star 2.88 works. So I whipped out a FRU 64F4148, Sony MP-F40W-03, and dropped it in with some trepidation.

Installation- This model has the same layout as the original ALPS DFP723D15C. Looking from above, the drive motor is on the left (same side as the eject button) and floppy cable is on the right.
   Just swap the plastisized shield to the new drive (nice that the big exposed flywheel is gone on the 2.88), and put on the rails. Because of the black dust shutter, you can't just slap on those rails. Instead, start the rear screw first. Now pull out on the front end of the white rail and start the front screw. Now you can snug it down with little trouble.

Longer 2.88MB Eject Button
   The 2.88 has a little longer eject button that will prevent you from closing the floppy carrier back into the case when you have a floppy in it. BUT since you now have a dust cover on your floppy, you might be able to live with it.
   If it really bothers you, file it down (how crude).

Hacking Refdisk for 2.88MB Support
 NO! Don't even try it! Do NOT try to cook up a hacked refdisk using refdisks of other systems that use similar components! I did just that and I almost trashed one of my (very few) P75s!
   The problem is when you hose the POS values with the bogus refdisk, the stock refdisk WON'T WORK! Worse, it comes up as a Non-System disk. Tim Clarke is of the opinion that the later refdisks move the extended CMOS area, and that's what sends the floppy to Nirvana.


DON"T TRY THIS AT HOME!
Undorking a P75
   This was more fun than being attacked with a Ronco Turnip Twaddler... I was unable to reset the CMOS with any utility that I tried, the floppy could read the floppy, but trying to open files produced Disk not Ready errors.
   I noticed that I could boot with a PC DOS 7 boot disk, so out of hope (desperation?) I created a PC DOS 7 bootable floppy, then dumped all the other files (minus command.com, ibmbio.com and ibmdos.com) to the boot disk. I then used Bob Eager's REFSTAMP on it.
   The hybrid refdisk will boot to the PC DOS prompt. I then ran SC.EXE from the command line, configured, then saved it. Sort of nice with the bootable floppy, as soon as you hit F3 to exit, it returns you to the command line. Run SETCLOCK.EXE to set your clock.

Shorting the MC146818AF RTC
   Getting to it is half the fun. Undo the 4-40 posts from the ports, then undo the two screws holding the left end of the MCA slot bracket, unplug the header from the planar, unscrew the screw at the top where the braided ground comes in from the plasma display, unscrew the screw at the bottom next to the SCSI ID header artifact, then remove the single screw that is in the center of the "T". Now rock the riser out of the planar. Wasn't that simple?
   With power off and the battery unplugged, short pins 12 and 24 together for 15 seconds. That's the certain way to clear it, yet I am not totally convinced it clears everything.
   Pin 1 on the RTC faces left, so 12 is the rightmost pin on the bottom, and pin 24 is the leftmost pin on the top. (Thanks to William Walsh for sending a snippet from the newsgroups).

   Stick the MCA slot bracket back on, replace all screws and posts.

Boot with the PC DOS 7/refdisk hybrid. Run SC.EXE and SETCLOCK.EXE, now the system should (maybe, possibly) respond.


External Storage Device Connector
  Shared with the P70, look HERE

Floppy Drive Removal
 From Jim Shorney (I'm an engineer, not a doctor) 
   OK, this is not rocket science, especially if you have an H1 floppy. 

Reach in behind the display panel with your left hand. Slide your index finger in behind the floppy housing on the left side  about 3/4 of the way up.  Then slide your finger downward along the edge of the housing until it stops on the catch.  At this point, hook your finger behind the left side of the housing and pull the side of the housing to the left, maybe 1/4" or so.  Once the little post on the floppy cover clears the catch, the floppy will flop forward. 

Continue to rotate it until it is level, then pull it straight out. 
 
 
 
 
 
 
 
 
 
 
 
 

Removing Floppy from Drive Carrier, H1 Model

  Unscrew both screws from the upper side of the carrier. Pull the floppy rearward until the white plastic piece on the right side is just to the front of the catch.
   Now pull the side of the carrier away from the drive and pull the drive up on the right side and pivoting it on the left side. NOTE: The floppy will NOT slide out of the carrier. 

Reassembling Floppy into Drive Carrier
   This had me stopped for a little bit. You have both white plastic pieces that screw onto the front sides of the floppy. Which goes on which side?

   If you look into the recess that the drive carrier fits into, you will notice a black catch in the upper right corner. Now look at the two white plastic pieces. Notice that one has a little "arm" sticking up? This part gets screwed on the floppy on the same side as the eject button.

  Slip the left side of the floppy into the drive carrier. Pull the right side of the carrier out so the floppy "rail" will clear. Slide drive forward until it stops. Install both self tapping screws.

   Warning! There is a aluminum ground shield across the bottom of the floppy drive. It is attached with four screws through the bottom mounting holes (which are not used by the plastic "rails"). It is coated on one side with a plastic non-conductive coating. To properly attatch this shield, the grounding strap "tab" MUST be on the same side as the motor! A simple test- use an ohmeter on the shield, one side conducts, the other, not. 


P75 Drive Carrier 

My vision- Get a angle bracket, cut to length, drill mounting holes in the top and sides. 
 

P75 HD Rail Dimensions


Dimensions are relative to the end AWAY from the SCSI connector. The material is 1/2" aluminum angle from Ace Hardware, cut to 4.5" long. I "flattened" the angle bracket to show the relations between the holes. Holes are 5/32".

First hole for the rail to HD cage is .625". second hole is 3.245". Both holes are .250" from the angle.
   NOTE: The distance to the angle for these holes is not critical, as long as you have clearance
                 for the screw heads.

First hole for the HD to rail is 2.375". second hole is at 4.125". Both holes are .125" from the angle
   NOTE: These holes MUST be .125" away from the angle, since the Hard Drive width can't change...

NOTE: The rails are mirror images, they are NOT identical!. The dimensions are the same,  but swapped.

Completed HD Mounting Rails


   I finally took matters into my own hands... Took 4.5" lengths of 1/2" aluminum angle and drilled some 5/32" holes. Note the mounting hole for the left end (farthest from the SCSI connector) is the same distance as the old 0661 HD. Oddly, the spacing between that hole and the first screw for the new(er) HD is 1.75", and the second HD mounting hole is 1.75" past that... Odd...
   The HD mounting holes are .125" from the edge of the angle, and interfere with installing the screw, so I used a keyway cutter to mill away a slot to give the screw head clearance. The holes to mount the rails are 5/32 for now, but I'm thinking of switching to a mild steel angle because the extruded aluminum is soft. I could have tapped it for 10/32, but  I'm afraid that it would be too easy to strip the threads from aluminum.

P75 HD Cage with Drive Rails

   Here's a shot with the drive on the rails. I used 3/8ths inch 8x32 nylon machine screws and nuts from Ace Hardware. The nylon screws were a close fit in the 5/32" holes, almost like a barbed fastener... You might just stick with 5/32 and nylon screws for a quick assembly. NOTE: The aluminum angle used may make "shavings" when threaded for use with steel screws. Consider threading for 8x32 and use nylon screws...I wonder if  a thread forming tap would work.

Using aluminum is OK, but be careful of threading..
Use the same diameter drill for all holes if you can.
Use a 1/2" diameter by 3/16" wide keway cutter. A .750" dia cutter leaves too much flash.
If you use an ER-20 collet chuck, get a 3/8" shaft keyway cutter so it fits...



Battery Pack PN 79F3198 (assembly)  Battery Card, PN 64F8794
  The P75 uses a 6V battery pack, with two Panasonic CR2477 3v 1000 mAh cells in series soldered to a circuitboard. 

  The battery header (J18) is a four pin header with one pin missing. The plug on the end of the battery card cable has one position plugged. 
 
 
 
 

J18 Pinout

Battery Card plug  3 is Black, 1 is Red, 2 is NC. The battery card socket has a plastic plug in the position of the missing pin.
 
 
 



Processor Card PN 64F8775 FRU 64F8789 


IC5 486DX-33 
OSC1 66.6666 MHz
ROM PN 64F9924 
P75 CPU Upgrade  (Dr. Jim Shorney's site) 
 
 
 
 



Video Card PN 78F9895 FRU 78F9897 
44256 Hitachi 44256S-10LL 
CN1 Plasma panel 
CN2  External video 
CRTC32 TC110GC9AG 
DAC32 37F0842 
J1 Not a clue 
J2 Not a clue 
PDPC 53F8674
TC524256 Toshiba TC524256J-10 
VRAM Toshiba TC524256AZ-10 
Y1 25.175 MHz PC 640x480/ 400 modes 
Y2 41.539 MHz PC 132-columns mode 
Y3 28.322 MHz VGA / Text mode 
Y4 44.900 MHz PC 1024x768 43.5Hz I 
Y5 40.000 MHz DMA Clock / 2 
   PC = Pixelclock

A lot of these are used on the XGA adapter. 

J1 and J2
Both J1 and J2 are jumpered on 2-3. Any further info on the jumpers or chips? Tell ME



Brightness Program 
 To install Brightness program, run Brtinst.com from the refdisk. This installs brt.com. 
   To have emphasized text brighter than standard text, type "BRT" and press Enter. To have standard text brighter than emphasized text, type "BRT /H" and press Enter. 

The P75 has XGA-1 with 1MB VRAM.

The internal display however supports only the 640 x 480 mode and turns off if any of the higher modes is used. This will explain why you can get a picture on the external screen but not on the plasma. 

You will have to stay at the low-res mode here, since the display is from the principle only a "generic VGA screen" (same as on the P70 BTW).

P75.EXE
  While the system is running, this utility allows you to switch from the IBM external display attached to the XGA2 Adapter and the plasma display or the IBM external display attached to the XGA external port.  To do this, just type P75 at a dos prompt and the XGA2 Adapter with the monitor connected will be disabled and video will output to the plasma display or the display hooked to the XGA port.

Type "P75/u" at dos prompt (undo) option to return to the monitor connected to the XGA2 Adapter.



Riser Swap with P70
  Gee, ever think of using a P75 riser on a P70? Well, it doesn't look good- The riser may fit, but the P75 has a 14 pin header from the board to the riser card. Of course, the P70 lacks it entirely. Probably the extra control lines? Whatever. Another MAD fantasy...


Win98SE on P75
Peter sez:
   Today I have tested my trusty old "PortaPotty" 8573-401 (P75 Luggable) with Win98SE. My configuration: unmodified 486DX-33, 8MB (2 x 4) on the planar, 32MB (4 x 8) on the Acculogic Simmply Ram, Madge 16/4 TR (Tropic chipset), Maxtor MXT540S at SCSI-ID6, external CD-ROM II (caddy loaded) in 3510-AV0 enclosure.
   Win98SE install took about 3 hours ... I went away in between for lunch and missed to "press any key". The system hung at one point prior to the first reboot after the files had been copied from the CD and before you are asked to enter the 4 x 5 ident characters. I switched the machine off and powered it back on. Caused no major problem except waiting for the 40 Megs RAM to count up.
   Result (after that long time): "Your system is optimal configured". No 16-bit mode, full access to the CD-ROM etc. pp. ... but it is rather slow. Guess I'll have to send in the processor board to Doctor Jim for some supercharging ... :-)


P75 System ADF 0E0FFh AdapterName "Built In Features" 

Serial Port
   The built-in serial port connector can be assigned as Serial 1 through Serial 8, or disabled. 

   <SERIAL_1  03f8-03ff int 4>, 2 (02f8-02ff int 3), 3 (3220-3227 int 3), 4 (3228-322f int 3), 5 (4220-4227 int 3), 6 (4228-422f int 3), 7 (5220-5227 int 3), 5 (228 -522f  int 3), Disabled 

Parallel Port
      The built-in parallel port connector can be assigned as Parallel 1 through Parallel 4 or disabled. 
     <PARALLEL_1 03bc-03bf 1278-127f int 7>, PARALLEL_2 0378-037f int 7, PARALLEL_3 0278-027f int 7, PARALLEL_4 1378-137f int 7, Disabled 

Parallel Port Arbitration Level
   The built-in parallel port connector can be assigned any one of the available arbitration levels 0 through 7. Select <Disabled> to use the parallel port in compatibility mode. 
   <Level 6>, 5, 4, 3, 1, 0, Disabled, Level 7 

Preempt Enable/Disable
   System board CPU can preempt continuous data transfers by other devices on the MCA bus.
     <Enable>, Disable 

Video I/O Address
   I/O address range for Display Controller Registers and location of video coprocessor registers. 
      <Instance 6: 2160h - 216Fh>, Instance 1: 2110h - 211Fh, Instance 2: 2120h - 212Fh, Instance 3: 2130h - 213Fh, Instance 4: 2140h - 214Fh, Instance 5: 2150h - 215Fh 

Video ROM Address Space
    Memory address range used for the system video ROM. 
      <C0000 - C1FFF>, C200-C3FF, C400-C5FF, C600-C7FF, C800-C9FF, CA00-CBFF, CC00-CDFF, CE00-CFFF, D000-D1FF, D200-D3FF, D400-D5FF, D600-D7FF, D800-D9FF, DA00-DBFF, DC0-DDFF, DE00-DFFF 

Video Arbitration Level
       The video sub-system can be assigned any one of the available arbitration levels 8 through 14. 
     <Arbitration level 13>, 12, 11, 10, 9, 8, 14 

Video Fairness
        Whether or not video sub-system coprocessor will follow the fairness algorithm for bus usage. 
     <Fairness On>, Fairness Off 

Auto-Dim Time
        Auto-Dim function automatically turns plasma display off after specified period if no input from the keyboard or auxiliary device is received. Auto-Dim Time can be from 1 to 120 minutes. 
     <10 Minutes>, 20 Minutes, 30 Minutes, 60 Minutes, 120 Minutes, 1 Minute,5 Minutes 

Auto-Dim Reset
   There are two ways to turn on the display again: 
           1. Pressing SHIFT 
           2. Clicking the mouse. 
        If the mouse picks up vibration on a desk which turns on the display again, change Auto-Dim Reset from <Keyboard and Aux. Device> to <Keyboard Only>. 
        <Keyboard and Aux. Device>,Keyboard Only 

Color to Gray Mapping
     There are some applications that are developed for color displays but can be used on monochrome displays. When using such applications, reset Color-to-Gray Mapping to <Green Signal Only>. Setting <RGB Mixed Signals> may result in an unpredictable display image. 
  <RGB Mixed Signals>, Green Signal Only 

Turned-on Display
Primary turns on only one display that is considered to be the primary display. No external display connected - Plasma is primary display. Only VGA is supported. External display connected - External is primary display. VGA or XGA supported on external port
Plasma and External turns on both plasma and external display. Only VGA mode is supported. 
   <Primary>,  Plasma and External 

9595 Main Page