|
M-ACPA
@6e6c.adf
M-ACPA/A
Audiocap.exe ACPA Adapter/A
Option Disk (720K! Use
FORCEDOS
under NT)
Or use Wild Bill's ZIP of the extracted files HERE
ACPA
Installation and Technical Reference Manual (with POS info!)
Method and
apparatus
for simultaneous output of digital audio and midi Synthesized Music
IBM M-ACPA Win. driver Corrective Serv.
M-Audio Capture Drivers and APIs 1 of 2
M-Audio Capture Drivers and APIs 2 of 2
M-Audio Capture Drivers Docs
M-Audio Support files for Windows 3.1
Drivers for Audio Capture/Playback
Readme file for macpaopt.exe
190-159 M-Audio Capture And
Playback Adapter/A Upgrade Kit
Installing
the M-ACPA under Win95 (Peter Wendt)
IBM M-Audio Capture
& Playback Adapter/A (M-ACPA) @6E6C (William Walsh)
ACPA Source
ACPA Low Level Driver Source 1/2
More ACPA stuff
(copy or different?)
@6E6C ADF sections
ACPA, ver A
JPR4
ACPA, ver B
ACPA, ver C (Ultimedia)
Win95 Experiences
(William Walsh)
ACPA Construction
ACPA Source
ADF Sections
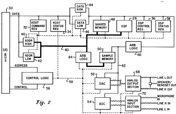
ACPA Block Diagram
(Extract from US Patent 5,054,360)
ACPA
(Rev.
A)
Thanks to William Walsh for outlining this and doing the chip
ID.
Blue - Takamisawa
A5W-K
U20 - Crystal CS5126
U61, 64 - Cypress
CG7C185-35VC |
U63 - TI
TMS320C25FNL DSP
Y1 - 22.5792MHz (CS5126
external clock ?)
Y2 - 40MHz (DSP clock?) |
Y1 - 22.5792MHz (probably
for CS5126 external clock -- see datasheet)
U63 - TI TMS320C25FNL DSP
datasheet HERE
U20 - Crystal CS5126 (16 bit
stereo A/D converter, datasheet here)
Blue - Takamisawa A5W-K 5VDC
1A/30VDC DPDT relay (for muting function)
Jumper JPR4
This is the only way to jumper it. Experiment if you are
curious.
ACPA
(Rev.
B) P/N 95F1288 Made by Rexxon/Tecmar FCC ID ANOMACPAMC
J1 CD Rom Audio
(see J1 below)
J2 AUX (see J2 below)
J3 Unk artifact?
JPR1, 2 Jumpers to connect PCB planes
JPR3 Artifact (see JPR3
below)
K1 Takamisawa A5W-K
OSC1 22.5792 / 40.000
MHz osc
P1 Line In
P2 Microphone
P3 Line Out |
P4 Speakers
P5 Artifact (wavetable?)
U1, 3, 5 NS LF347M
U2, 6 NS LM386
U4 Intersil DG211CY
U8 NEC D6355G ?
U12 Crystal Semi
CS5126-KL
U13 TI CF62357APQ
U16 TI TMS320C25FNL DSP
U17, 18 Cypress
CYC185-20VC0 |
U1, 3, 5 NS LF347M Quad
operational amplifier (JFET) Datasheet
U2, 6 NS
LM386 Low Voltage Audio Power Amplifier Datasheet
U4 Intersil DG211CY SPST
4-Channel Analog Switch Datasheet
U8 NEC D6355G (UPD6355G)
16-Bit Digital-to-Analog Converter Datasheet
U12 Crystal Semi CS5126-KL
16-bit stereo A/D converter for digital audio Datasheet
U16 TI TMS320C25FNL DSP
Datasheet HERE
J1
CD Rom Audio cable.
|
J2
AUX
|
JPR3- Artifact Leave
jumpered. Why this is, I don't know.
Peter sez-
Did you notice the 30-pin double pin row solder spots on
that card ? As far as I recall it was intended to add some more stuff
to this card
... and this jumper seems to be an artifact from that stage of
developement as well. Open the jumper - and the system hooks with the
ACPA installed.
ACPA
(Ultimedia
Rev. C)
U2, 3 National
Semiconductor LM386
U12 Crystal CS5126-JL
U13 TI CF62357APQ (MCA
bus interface?)
U16 TI TMS320C25FNL DSP |
U17, 18 Cypress
CY7C185-20VC
OSC1 22.5792 & 40.0 MHz
Q1 Takamisawa A5WK
Relay
T1-7 TDK ZJYS-2 |
U12 Crystal CS5126-JL (16
bit stereo A/D converter, datasheet here)
OSC1 22.5792 & 40.0 MHz (CS5126 clock and DSP
clock - all in one package!)
Q1 Takamisawa A5WK (in a
white
casing, for audio muting)
J2 Pinout
P4 Pinout = Multimedia
Port (same
as Audiovation)
|
Pin
|
Signal
|
Pin
|
Signal
|
|
1
|
Out R
|
10
|
Out L
|
|
2
|
Gnd
|
14
|
Key
|
|
4
|
Mic R
|
13
|
Mic L
|
Audio Mute
Peter Wendt says:
I have the M-ACPA in various machines - one of them is a
Server 85
(33MHz planar) with Kingston Turbochip 586-133 installed. Works nice.
But:
- is not Soundblaster compatible and will never be
- volume control and mixer don't work (consequently - requires SB-comp.
card)
- the audio-mute is a relay, which causes a loud clicking noise in the
output
- the .MID-files sound a bit odd since the instrument tables differ
Apart from that it works pretty good and the audio quality
is a lot better compared to ISA-sound card. The digitizer part (analog
in)
is 10X-better than on any other ISA-card due to the better signal /
noise
ratio of the MCA. I use one ACPA to digitize my old analog
records.
Windows 95
Experiences (set-up procedure here.)
The M-ACPA sounds pretty darn good when playing waveform
audio.
The MIDI implementation doesn't sound at all good
under Windows 95. Some notes seem to be
over-emphasized and others you can barely hear. Some wave sounds come
through a bit strangely and others play fine. I can't explain that.
This might be compression related. As with Audiovation, using 16 bit
programs is your best bet for proper sound playback. Most 32 bit
programs won't even see that you have the ACPA installed. I didn't try
recording from any source.
Warning: You get no volume control on the ACPA
that I can see. It looks to me as though the outputs are "full on"
under Windows 95. For your ears' sake, use earphones or speakers that
have an inline volume control.
MP3 files played nicely on my 9585-0XF using an
old 16-bit version of Fraunhofer's MP3 decoder software and a Kingston
133MHz TurboChip CPU upgrade. To multitask I had to turn down the
decoding quality a bit. You'd be hard pressed to hear the difference
from ordinary computer speakers though.
ACPA
Construction
Brad Parker said:
I know Audiovation sounds really good, and specs out good
to, but I'm working on an audio related project that needs to run under
Linux, so the ACPA series cards are my only real choice, unless you
know of a OSS compatible Audiovation driver for Linux.
I Looked at both the M-ACPA/A and ARPA audio stages tonite
and they are functionally identical (Think you said that on your
page).
Four small transistors near the center are for the
Microphone gain stage and are probably acting as an impedance matching
circuit, the
two small transistors near the top act as buffers for the line in
stage.
Three additional gain blocks are made up of the three quad
operational amplifiers marked TL084C, the C being CMOS. These are low
noise, hi impedence devices that use bi-fet transistor technology
internally. Each TL084 contains four Op-Amp devices. Generally they
sound good and
can be considered an "upgrade" part.
The "speaker" outputs, and I use that term loosely, are
powered by two LM386 power Op-Amps. They will drive headphones, but are
not known for their fidelity. They could be bypassed, yeilding a second
set of line outputs. I'll poke around with an osciliscope but I think
the spot where the
inputs come in through the coupling capacitors, marked C35 and C36 on
M-ACPA
and C15 and C17 on ARPA, looks likely.
I just noticed that ARPA only has 3 voltage regulators,
while M-ACPA has 4. The LM 317 and LM 337 imply a dual rail power
supply with a positive and a negative rail on the M-ACPA, while ARPA
appears single ended. This could mean that M-ACPA has more dynamic
range, greater output levels and less TIM distortion than ARPA. The
317/337 pair are adjustable, so I don't
know what their output voltage is, but if I designed the thing, I'd tap
the
+/- 12 volt and regulate it 10 or 11 volts.
ACPA Source
Brad Parker said:
Been looking at the IBM ACPA source very carefully, trying
to figure out how it works. I have noticed many very interesting
details.
Here's what I think I know:
ACPA works a lot like Mwave, in that there is a TI DSP
that it is loaded with an operating system (ACPA OS?). This indicates
that Mwave followed IBM's usual evolutionary, not revolutionary
model.
The ACPA OS runs the programs that play, record and
loopback. Dave Weis ported the OS and it loads and runs the playback
program he also ported. There is only 8K of memory on it, so I don't
think a Soundblaster emulation like Mwave's is possible. I'm going to
add record capability
by porting the record program module.
The card dosen't use interrupts, it reads and writes
directly to I/O ports, MCA superiority at work. Looks like it can be
treated as a block device which means that direct DAT record/playback
(ala SGI) is possible. That's a job for whoever supports the mt
utility.
The ACPA supports just about every sample rate I can think
of, including a 48K professional format that was used with M-motion and
would probably work with DAT and ADAT. ACPA also supports a mono 88K
rate, which would make very good quality recordings. The only major one
missing is the current 96K fad. Of course we are only recording with 16
bit resoulution, not 20 or 24 bit like the modern stuff. Then again,
they have to down convert to put it on a 16 bit CD. I read on the Pro
Audio NG that bit rate and sample rate conversion is a big pain. The
concensus there is to record at the sample rate and resolution of your
target media, 16 bit 44.1 Khz, or for commercial reproduction, 16 bit
48 Khz
I think the most interesting thing I found out is that the
original IBM driver supports up to 4 ACPAs concurrently! Keeps track of
the
seperate stereo audio streams and everything. Very nice for my
purposes.
Don't think OS/2 every took advantage of that. Hopefully the Linux
stuff
will work out that way :-)
If I can pull this off, I'm going to attempt a port for
Audiovation. I finally got a copy of the Mwave developer's kit. It's
very Win 3.XX orientated, but the Soundblaster emulator might be ported
to work with Linux directly, without all the dual boot monkey business
that goes on now.
AdapterId
06e6c "ACPA/A"
Address Selection
The base address of the M-ACPA/A can be at one of 4
different locations. Choose a location which does not conflict with any
other installed board. 'Disable' will cause the M-ACPA/A to
not be available.
<"FDC0-FDC7">,
FDC8-FDCF, FDD0-FDD7, FDD8-FDDF, Disable
Interrupt Selection
Interrupt level used. Minimize the amount of
interrupt sharing by assigning other installed boards to different
levels.
<"Interrupt 3">,
4, 5, 6, 9, 10, 11, 12
9595 Main Page
|